By STMicroelectronics 1506
The STM8S003F3P6TR microcontroller is a microcontroller based on the ARM Cortex-M0 core launched by STMicroelectronics. The main features of this microcontroller include high performance, low power consumption, high integration and high cost performance. In terms of application fields, the STM8S003F3P6TR microcontroller can be widely used in various fields such as industrial control, medical equipment, and smart homes.
The STM8S003F3P6TR is a typical 8-bit microcontroller that provides 8KB of flash program memory and integrated real data EEPROM. In the STM8S Microcontroller Family Reference Manual (RM0016), the STM8S003F3P6TR is referred to as a low-density device.
The STM8S003F3P6TR ensures device performance and reliability with a real-data EEPROM that supports up to 100,000 write/erase cycles, an advanced core and peripherals built with state-of-the-art technology. It also has the advantages of 16MHz clock frequency technology, powerful I/O, independent watchdog with independent clock source and clock security system.

Ⅰ.Specification parameters of STM8S003F3P6TR
•Number of digits:8
•Number of pins:20
•Core:STM8
•Program memory size:8 kB
•Data RAM size:1 kB
•Package/Case:TSSOP-20
•Maximum clock frequency:16 MHz
•ADC resolution:10 bit
•Supply voltage-Minimum:2.95 V
•Supply voltage-Max:5.5 V
•Installation style:SMD/SMT
•Data bus width:8 bit
•Minimum operating temperature:-40℃
•Maximum operating temperature:+85℃
•Processor series:STM8S
•Program memory type:Flash
•Number of input/output terminals:16 I/O
•Product category:8-bit microcontroller-MCU
•Analog-to-digital conversion number (ADC):1
•Power supply voltage (Max):5.5 V
•Power supply voltage (Min):2.95 V
•Data Ram type:RAM
•Data ROM size:128 B
•Data Rom type:EEPROM
•Interface type:I2C, SPI, UART
•Data converter:A/D 5x10b
•Installation method:Surface Mount
•Number of ADC channels:5 Channel
•Number of timers/counters:3 Timer
•Product type:8-bit Microcontrollers-MCU
•Peripherals:Undervoltage detection/reset, POR, PWM, WDT
Ⅱ.Features of STM8S003F3P6TR
1.Core
•Extended instruction set
•16 MHz advanced STM8 core
2.Memory
•2.95 V to 5.5 V operating voltage
•Flexible clock control, 4 main clock sources
•RAM: 1 KB
•Program Memory: 8 KB Flash; data retained for 20 years at 55°C after 100 cycles
•Data Memory: 128-byte true data EEPROM; endurance clocking, reset and power management up to 100k write/erase cycles
3.Development support
•Embedded single-wire interface module (SWIM) for fast chip programming and non-intrusive debugging
4.Communication interface
•SPI interface up to 8 Mbit/s
•I2C 2C interface up to 400 Kbit/s
•UART with clock output for synchronous operation, smart card, IrDA, LIN master mode
5.Analog-to-digital converter (ADC)
•10-bit ADC, +1 LSB ADC, up to 5 multiplexed channels, scan mode and analog supervisor
6.Interrupt management
•Up to 27 external interrupts on 6 vectors
•Nested interrupt controller with 32 interrupts
7.Timer
•Auto wake timer
•Window and independent watchdog timers
•16-bit general-purpose timer with 3 CAPCOM channels (IC, OC or PWM)
•Advanced control timer: 16-bit, 4 CAPCOM channels, 3 complementary outputs, dead time insertion and flexible synchronization
8.I/Os
•Highly robust input/output design immune to current injection
•Up to 28 I/Os on 32-pin package, including 21 high-sink outputs
Ⅲ.Memory organization structure of STM8S003F3P6TR
1.RAM:
•RAM is typically used for data storage and processing during program execution.
•Exact RAM capacity depends on the model, usually between 128 bytes and 2 KB.
•STM8S003F3P6TR contains a certain amount of random access memory (RAM) for storing variables and temporary data.
2.Special Function Registers, SFRs:
•SFRs are registers used in STM8S003F3P6TR to control various peripherals and configure chip functions. These registers are usually mapped to a specific address space, and their values can be read or modified by directly accessing these addresses.
3.EEPROM:
•EEPROM usually has a small storage capacity, usually between tens to hundreds of bytes.
•EEPROM is used to store data that needs to be retained after a power outage, such as configuration parameters or user data.
•Some models of STM8S003F3P6TR may have built-in EEPROM (Electrically Erasable Programmable Read-Only Memory).
4.Flash memory:
•Flash memory is usually divided into sectors to support code storage and updates.
•Exact Flash capacity and organization depends on the specific model, but is usually between 1 KB and 8 KB.
•STM8S003F3P6TR has built-in Flash memory for storing program code and constant data.
5.Option Bytes:
•STM8S003F3P6TR also contains some option bytes, which are used to configure some specific parameters of the chip, such as protection level, clock source selection, reset configuration, etc. Option bytes are also usually stored in flash memory, but they have special protection mechanisms to prevent accidental modification.
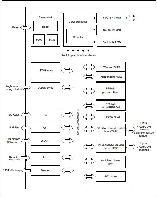
Ⅳ.Functional block diagram of STM8S003F3P6TR

Ⅴ.Current characteristics of STM8S003F3P6TR

Ⅵ.Application scenarios of STM8S003F3P6TR
1.Smart home: STM8S003F3P6TR can be used to create smart home systems, such as smart lighting, smart door locks, smart sockets, etc. It can be used with various sensors and actuators to achieve automation and remote control functions.
•Smart lighting: By connecting devices such as photosensitive sensors and LED lights, the STM8S003F3P6TR can automatically adjust the light brightness according to the ambient light, or remotely control the light switch and brightness adjustment through the mobile phone APP.
•Smart socket: By connecting smart sockets and electrical equipment, STM8S003F3P6TR can realize functions such as remote control of electrical switches and scheduled tasks. Users can control the on/off status of home appliances anytime and anywhere through the mobile APP, or set up scheduled tasks to automatically turn off appliances to save energy.
•Smart door lock: STM8S003F3P6TR can be used with electronic door locks, fingerprint recognition modules, etc. to realize the control and management of smart door locks. Users can remotely unlock the lock through the mobile phone APP, or achieve keyless entry through the fingerprint recognition module.
2.Home appliance control: STM8S003F3P6TR can be used for home appliance control, such as the control and management of air conditioners, washing machines, refrigerators, etc. Its high performance and low power consumption make it very suitable for such devices that need to run for a long time and have power consumption requirements. In air conditioning control, STM8S003F3P6TR can accurately control temperature, manage wind speed and direction, and achieve a comfortable indoor environment. In a washing machine, it is responsible for controlling the laundry process, including water level, washing time, number of rinses, spin speed, etc. For refrigerators, the STM8S003F3P6TR can monitor temperature to maintain food freshness while optimizing energy consumption.
3.Embedded systems: STM8S003F3P6TR can be used in various embedded systems, such as small controllers, sensor nodes, data collectors, etc. It can communicate with various external devices and perform corresponding control tasks.
•System scalability: The pin number and functions of STM8S003F3P6TR make it easy to expand and can be combined with other microcontrollers, memories, communication modules, etc. to build more complex embedded systems.
•Core processing unit: As the core processor of the embedded system, STM8S003F3P6TR is responsible for performing various tasks, including data processing, control logic, communication management, etc.
•Control task execution: STM8S003F3P6TR can control external devices, such as driving motors, managing power supplies, etc., based on preset control logic or received external instructions.
•Low power consumption management: For embedded systems that require long-term operation, the low power consumption characteristics of STM8S003F3P6TR are crucial. It can effectively reduce system power consumption by selecting appropriate operating modes, turning off unused peripherals, and implementing energy-saving algorithms.
•Communication interface: STM8S003F3P6TR provides a variety of communication interfaces, such as UART, SPI, I2C, etc., which allows it to easily connect and communicate with various external devices (such as sensors, actuators, communication modules, etc.).
•Data acquisition and processing: In the data collector, STM8S003F3P6TR can receive analog or digital signals from sensors, perform necessary processing and analysis, and then send the results to other devices or systems through the communication interface.
4.Electronic equipment: STM8S003F3P6TR can be used in various electronic equipment, such as electronic clocks, timers, remote controls, etc. It can manage various input and output devices and perform corresponding functions.
5.Industrial measurement and instrumentation: In the field of industrial measurement and instrumentation, STM8S003F3P6TR can be used in applications such as data acquisition, sensor interface, measurement and control. It can process various sensor data and perform corresponding control tasks as needed.
•Data Acquisition: In industrial measurement and instrumentation applications, the STM8S003F3P6TR is capable of processing analog or digital signals from a variety of sensors. Its built-in 10-bit ADC (analog-to-digital converter) is capable of sampling at a maximum rate of 1.5Msps, ensuring fast and accurate collection of sensor data. In addition, the STM8S003F3P6TR provides sufficient RAM and Flash memory to store and process this data.
•Sensor interface: Since STM8S003F3P6TR has multiple GPIO pins and rich communication interfaces (such as UART, SPI, I2C), it can easily connect and communicate with various sensors. This enables the STM8S003F3P6TR to be used as the core component of the sensor interface in industrial measurement and instrumentation to realize the reading and transmission of sensor data.
•Measurement and control: The STM8S003F3P6TR’s high performance and precise data processing capabilities make it ideal for industrial measurement and control tasks. It can execute complex control algorithms and adjust the operating status of the equipment in real time based on sensor data. At the same time, the STM8S003F3P6TR’s multiple timers and interrupt handling capabilities enable efficient switching and response between multiple tasks.
6.Medical equipment: In the field of medical equipment, STM8S003F3P6TR can be used for the control and data processing of various small and medium-sized medical equipment, such as portable monitors, blood glucose meters, etc. Its ease of development and low cost make it ideal for medical device manufacturers.
7.Security monitoring: In the field of security monitoring, STM8S003F3P6TR can be used for the control and data processing of various monitoring equipment, such as cameras, alarms, etc. Its low power consumption and stable performance make it very suitable for security monitoring equipment that requires long-term operation.
•Camera
Image processing: You can perform preliminary processing on the collected images, such as adjusting brightness, contrast, color balance, etc.
Image sensor control: The microcontroller can control the image sensor of the camera to collect and convert images.
Network communication: Through the built-in communication interface, such as Ethernet or Wi-Fi, the STM8S003F3P6TR can transmit image data to a remote server or monitoring center.
Motion detection and alarm: STM8S003F3P6TR can detect abnormal situations, such as moving objects or face recognition, by analyzing image data, and trigger an alarm.
•Alarm
Power management: The low power consumption of the STM8S003F3P6TR enables it to run for a long time on battery power, reducing maintenance costs.
Sensor interface: Connect with various sensors (such as infrared sensors, smoke sensors, etc.) to detect abnormal events.
Alarm control: When an abnormal event is detected, the STM8S003F3P6TR can trigger the alarm to issue a sound or light alarm, and send the alarm information to
the remote monitoring center through the communication interface.
8.Automotive electronics: STM8S003F3P6TR is also suitable for the field of automotive electronics, such as data collection, processing and communication functions of smart meters, and data collection and processing of sensors. Its low power consumption and high performance make it very suitable for scenarios with high power consumption and performance requirements in automotive electronic systems.
9.Industrial automation: In the field of industrial control, STM8S003F3P6TR can be used for the control and monitoring of various automation equipment, such as PLC (programmable logic controller), industrial automation equipment, etc. Its rich peripherals and easy development features enable it to meet the stability and reliability requirements of industrial automation systems.
Ⅶ.Online debugging and programming functions of STM8S003F3P6TR
1.Debugging function:
•Using an adapter, the microcontroller can be connected to a computer to enable online debugging capabilities. In the IDE, you can set breakpoints, observe the values of variables, step through code, and more to help debug and verify the correctness of your program.
•STM8 series microcontrollers usually integrate debugging interfaces, such as SWIM (Single Wire Debug Interface Mode) or SWD (Serial Wire Debug) interface.
2.Programming functions:
•STM8 series microcontrollers usually support online programming through SWIM or SWD interface.
•On-line programming functionality allows you to easily update the microcontroller's firmware for debugging and verification without the need to manually replace chips or use dedicated programming equipment.
•In the IDE, you can select a suitable programmer and set programming options, then download the generated program to the microcontroller.
3.For the development process, the benefits of online debugging and programming functions:
•Convenient update: Through online programming, the firmware of the microcontroller can be easily updated to achieve iterative development and function upgrades.
•Cost reduction: No need to manually replace chips or use dedicated programming equipment, saving development costs and time.
•Real-time monitoring: You can monitor the execution status of the program, variable values and other information in real time to help locate problems and optimize performance.
•Quick verification: Through online debugging, developers can quickly verify the correctness of the program, detect and solve problems, and improve development efficiency.
Ⅷ.Working principle of STM8S003F3P6TR watchdog timer
1.Timer setting: Developers configure the timing period of the watchdog timer in the program. Once the watchdog timer is started, it starts counting down until the preset timing period is reached.
2.Anomaly detection: If an abnormal situation occurs in the system, such as the program falling into an infinite loop, control flow error, etc., causing the program to be unable to feed the dog, then the watchdog timer will time out and reach the preset timing period.
3.Timer feeding the dog: During normal system operation, the program will periodically reset (feed the dog) the watchdog timer. This can be achieved through specific instructions or operations to prevent the watchdog timer from reaching a count period and triggering a reset.
4.System reset: When the watchdog timer times out, the system will perform a reset operation to restore the system to its initial state. This helps clear exceptions and restart the system, ensuring system stability and reliability.
5.Function of watchdog timer:
(1).Error detection: Watchdog timer timeout can be regarded as an indication of system failure. Developers can identify and debug problems in the system by analyzing the time and frequency of timeout occurrences.
(2).System protection: The watchdog timer can monitor the operating status of the system. Once an abnormality is detected, such as deadlock or infinite loop, it will trigger a system reset to prevent the system from being in an unrecoverable state for a long time.
(3).Improve reliability: By regularly resetting the watchdog timer, developers can ensure the normal operation of the system and detect and deal with potential problems in a timely manner, thereby improving the reliability and stability of the system.
Frequently Asked Questions
1.What type of memory does the STM8S003F3P6TR have?
The STM8S003F3P6TR has Flash memory for program storage, RAM for data storage, and optionally EEPROM for non-volatile data storage.
2.What is the purpose of the watchdog timer in the STM8S003F3P6TR?
The watchdog timer is used to monitor the system's operation and reset it in case of a malfunction or deadlock, thereby ensuring system stability and reliability.
3.How is low power consumption achieved in the STM8S003F3P6TR?
Low power consumption is achieved through various power-saving modes and features such as low-power peripherals, sleep modes, and dynamic voltage scaling.
4.What type of chip is STM8S003F3P6TR?
STM8S003F3P6TR adopts the core of the STM8S series and is equipped with a variety of peripherals and functions, such as high-speed counter, 16-bit timer, 4-channel 12-bit ADC (analog-to-digital converter), SPI (Serial Peripheral Interface), I²C ( bus interface) and UART (Universal Asynchronous Receiver and Transmitter) and other communication interfaces.