By Microchip Technology 924

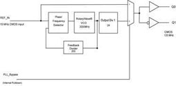
The SM802124 is a member of the ClockWorks™ family of devices from Microchip and provides an extremely low-noise timing solution for Ethernet clock signals. It is based upon a unique patented RotaryWave® architecture that provides very low phase noise.
The device operates from a 3.3 V or 2.5 V power supply and synthesizes two CMOS output clocks at 125 MHz from a 15 MHz LVCMOS reference clock.
| Features | ||
|
|